Project title: Tunable RESOnant SENSors based on multi-layer substrate integrated waveguide technology
Acronym: ResoSens
Program: Information and Communication Technologies
Project category: Experimental-demonstrative
Contract No. 399PED/2019
Project duration: 2020 - 2022
ResoSens Results
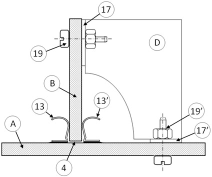
Pending patent A00659, 20 October 2022 |
V. Buiculescu, S. Iordănescu, “Method and devices for detachable assembly of electromagnetically coupled substrate integrated guide circuits”, pending patent A00659, 20 October 2022 Abstract Removable assembly method for structures consisting of two or more circuits with substrate integrated waveguide (SIW) transmission lines electromagnetically coupled through transverse slots with a main SIW circuit, and mechanical elements enabling this assembly method are presented. The method is applicable for reducing the physical length of one or more of the coupled SIW circuits to modify the electrical characteristics of the entire electromagnetically coupled SIW assembly, e.g. operating frequency of resonant sensors or rejection frequencies in SIW filters. According to the invention, detachable assembly of two coupled SIW circuits (A) and (B) requires (i) elastic metal elements (13) and (13') mounted in symmetrical positions with respect to the coupling slot (4) of the main SIW circuit to ensure stability of the assembly’s electrical properties, and (ii) the clamp (D) to hold the coupled SIW circuits in a stable relative position and to stiffen the whole structure by means of pairs of bolts and nuts (19) and (19') passing through the oval slots in the fixing flanges (17) and (17') of the clamp (D) and through the metal plated side walls of the coupled SIW circuits (A) and (B). |


